联系电话:
021-36536987

AS带自动切割潜水排污泵产品概述:
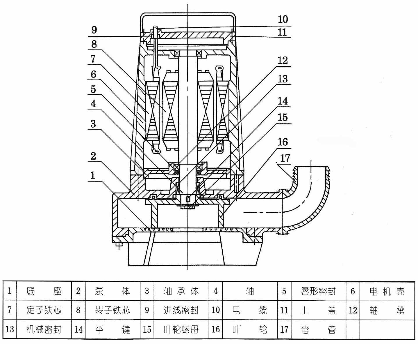
AS型系列撕裂式潜水排污泵适用于输送含有坚硬固体、纤维物的液体,以及脏、粘和滑的液体,。AS撕裂式潜水排污泵主要部件由叶轮、泵体、底座、潜水电机组成。水泵轴和电机轴是同一根轴,由于撕裂式潜水排污泵位于整个排污泵下端,它能大限度抽吸地面积余污水。撕裂式潜水排污泵均装有经调整好的撕裂机构,能将污水中长纤维、袋、带、草、布条等撕裂后排出。
AS带自动切割潜水排污泵工作条件:
流量范围:6~145m3/h
扬程范围:3~17m
转速n:1450~2900r/min
环境温度T:≤+40℃
介质温度:-15℃~+60℃
介质密度:≤1.3X103kg/m3
介质PH值范围:5~9 系统工作压力:≤0.6Mpa
AS带自动切割潜水排污泵产品用途:
1、工厂、商业严重污染废水的排放
2、 医院、宾馆的污水排放
3、城市污水处理厂排放系统
4、市政工程、建筑工地
5、住宅区的污水排水系统
6、勘探、矿山配套附机
7、人防系统排水站
8、农村沼气池、农田灌溉
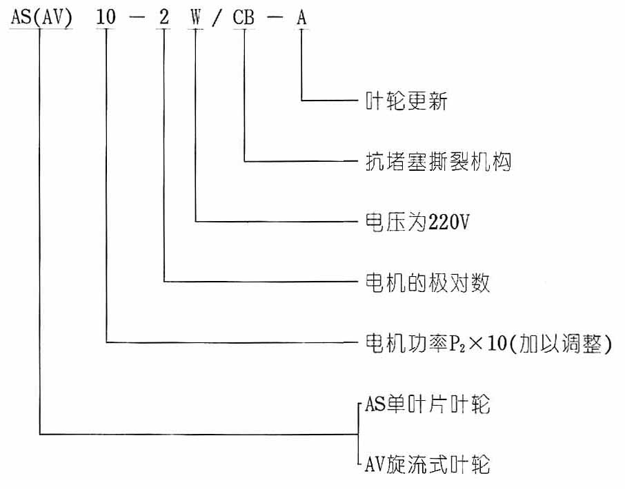
AS带自动切割潜水排污泵型号意义:

AS带自动切割潜水排污泵结构图:

AS带自动切割潜水排污泵安装示意图:

AS带自动切割潜水排污泵性能参数:

欢迎登陆足球视频直播app下载 官方网站//m.glfddz.com
公司主营产品: 气动什么app可以看免费足球直播 ‖电动什么app可以看免费足球直播 ‖微型什么app可以看免费足球直播 ‖磁力泵‖油桶泵‖插桶泵‖计量泵‖自吸泵‖螺杆泵‖浓浆泵‖耐腐蚀泵‖化工泵‖排污泵‖潜水泵‖离心泵‖管道泵‖油泵‖真空泵‖卫生泵‖液下泵‖多级泵‖胶体磨‖转子泵‖深井泵‖旋涡泵‖增压泵‖加油泵‖输油泵‖
上一篇:JPWQ型自动搅匀排污泵
下一篇: WQK带切割潜水排污泵
技术支持:中国环保在线 管理登陆 sitemap.xml