联系电话:
021-36536987

GW型无堵塞管道排污泵产品概述:
GW型无堵塞管道排污泵采用单通道叶轮,动密封采用两组硬质合金机械密封装置、电机用油室隔开,。
GW型无堵塞管道排污泵使用范围:
该系列无堵塞排污泵,适用于输送工业水和城市生活污水,是能输送含有固体颗粒和含有纤维材料的污水。除适用输送污水外,还适用作疏水泵、纸浆泵、过滤冲洗冷凝循环泵、灌溉用泵等。应用于矿山、建筑工地、医院、宾馆、污水外理等场合。
GW型无堵塞管道排污泵型号意义:

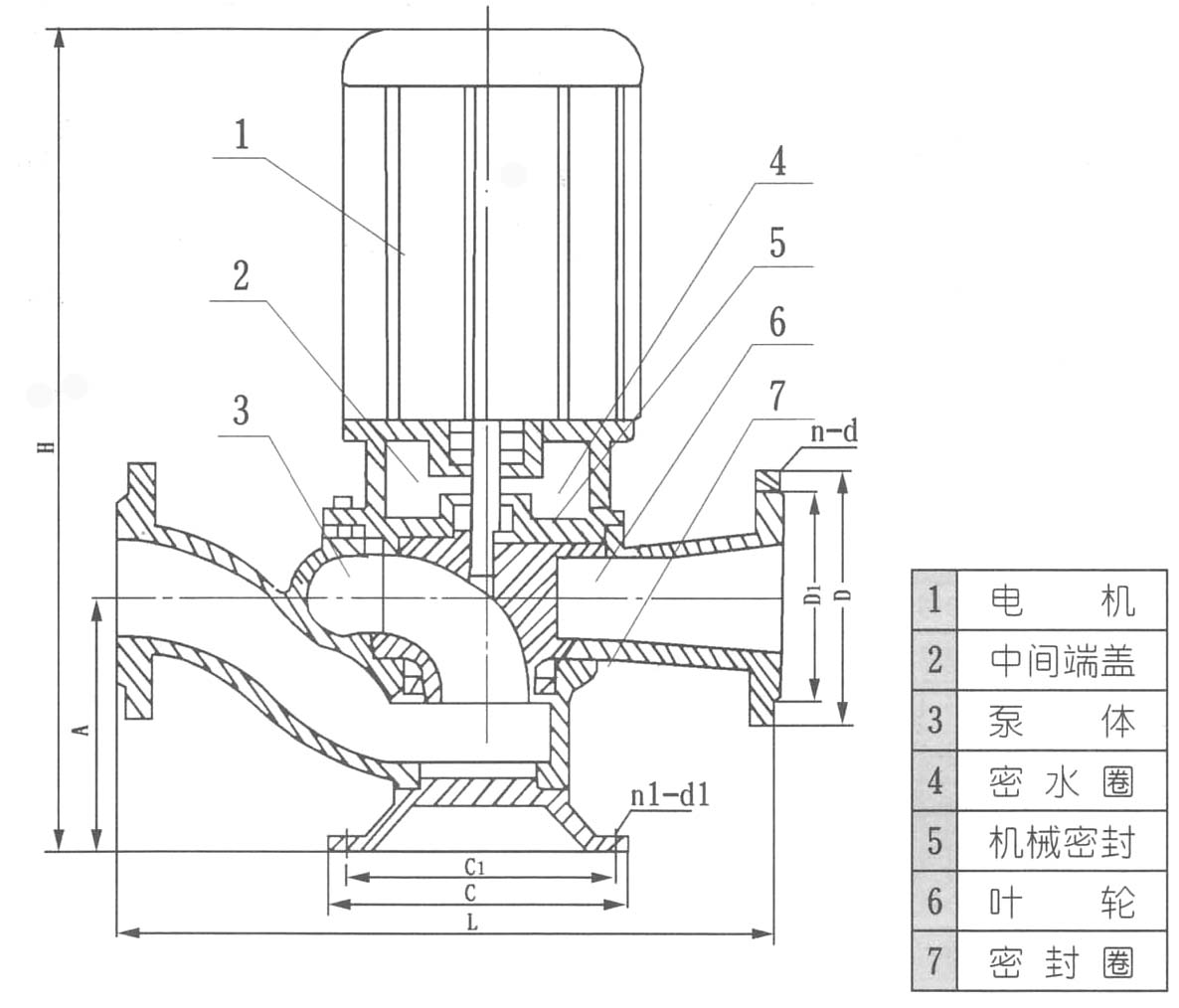
GW型无堵塞管道排污泵结构图:

GW型无堵塞管道排污泵性能参数:

欢迎登陆足球视频直播app下载 官方网站//m.glfddz.com
公司主营产品: 气动什么app可以看免费足球直播 ‖电动什么app可以看免费足球直播 ‖微型什么app可以看免费足球直播 ‖磁力泵‖油桶泵‖插桶泵‖计量泵‖自吸泵‖螺杆泵‖浓浆泵‖耐腐蚀泵‖化工泵‖排污泵‖潜水泵‖离心泵‖管道泵‖油泵‖真空泵‖卫生泵‖液下泵‖多级泵‖胶体磨‖转子泵‖深井泵‖旋涡泵‖增压泵‖加油泵‖输油泵‖
上一篇:LW型立式排污泵
下一篇: KCB/2CY齿轮油泵
技术支持:中国环保在线 管理登陆 sitemap.xml